Nintendo Switch 2 could steal Playdate's best feature one day
Are you ready to crank it on Nintendo Switch 2?
👀 Nintendo Switch 2 may adopt a crank feature inspired by the Playdate handheld
🤔 A recent patent reveals a Joy-Con 2 crank attachment with a clickable wheel
🎣 The crank could enable unique gameplay, such as when fishing in Animal Crossing
🧲 The attachment is expected to be magnetic for easy snap-on functionality
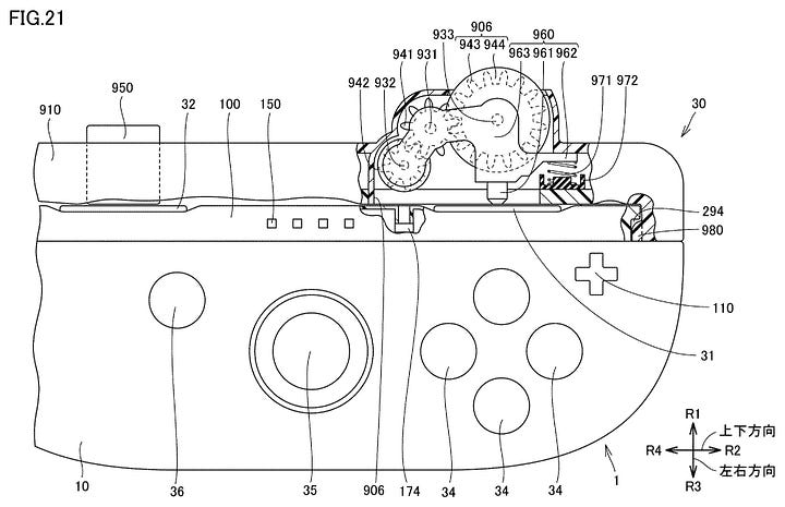
Nintendo is known for creating new input methods to play video games, like motion controls or even the analog stick. However, the Japanese company may be planning to adopt a feature from the Playdate handheld, according to a recent patent.
The Playdate has a crank that lets you control and interact with games, and it's something that makes the palm-sized console unique. It's very Nintendo-like, and the Japanese company seems to have taken notice.
A patent has surfaced on the World Intellectual Property Organization (via Nintendo Patents Watch) showing a crank attachment for the Joy-Con 2 controllers, which also includes a clickable wheel.
The Nintendo Switch 2 Joy-Con mouse sensor tracks each rotation of the disc when the crank is turned and a "click is transmitted to the SL button". There's also a second button that lets players press the SR button.


The use case for the Nintendo Switch 2 crank seems obvious as you could create a pretty interesting fishing game with it. Imagine if it were used in the next Animal Crossing game, too? That would be fun, wouldn't it?
The attachment should snap on and off easily as it'll likely be magnetic, similar to the Joy-Con 2 rails. However, as this is only a patent, it may never see the light of day. What it shows, though, is that Nintendo has at least thought of the idea (even if it may have been done first elsewhere). Watch this space.
Adam Vjestica is The Shortcut’s Senior Editor. Formerly TechRadar’s Gaming Hardware Editor, Adam has also worked at Nintendo of Europe as a Content Marketing Editor, where he helped launch the Nintendo Switch. Follow him on X @ItsMrProducts.




